關于電網的故事
故事一:關于接地系統
2018年10月開始,我作為小功率直流標準《NB/T 10902-2021,20kW及以下非車載充電機技術條件及安裝要求》牽頭起草單位的執筆人,有幸參加了標準研討、草稿討論、征求意見稿討論、送審稿審核等系列會議,惡補了電網、低壓電氣、安規方面的知識。
在討論“無法設計出一個萬能的接地檢測電路”時,專家們重新檢討是否真的無法設計出這樣萬能的電路,討論過程中不斷提到TN-C-S、TT、IT等不同的接地系統。關于這些不同接地系統的含義,倪老師在會上推薦了王厚余老師的著作《低壓電氣裝置的設計安裝和檢驗》。
我將這本書奉若至寶,買回來一本,復印了前三章,送呈每位硬件工程師手中,要求每個人簽字確認收到,然后又安排了一位同事研讀,再給大家講課分享。對接地系統的理解,將作為工程師職級評定考試的必考內容,新入職的銷售人員的必考內容。
故事二:關于單相電的最大功率
2018年5月,我們推出了基于220V單相輸入的13kW便攜式直流充電機。廣告中宣稱,只為懂電的充電饑渴者。每賣出一臺,都要求銷售和客戶簽一個免責協議。賣得心驚肉跳。因為據我所知,單相電,最大輸入電流只能是32A、7kW左右的功率; 聽說有法規或者強制標準,但我一直沒找到。歡迎讀者朋友幫我找到原始出處。
故事三:關于"電網"的概念
“這孩子有出息了,大學畢業就考上了國家電網。” 這類話的傳播使得“電網”二字深入人心。這里的電網是指國家電網公司,電網公司給人的印象等效于政府衙門。人生提前進入充滿確定性的狀態,豈不快哉?!
“電網”是一種廣義的模糊的老百姓都熟悉的詞匯。對于充電樁的配電來說,電網到底是什么?要具象。
故事四:“電網喜歡三相電 ”
有次討論中,大家談到,電網公司對于申請三相電會不會限制? 倪老師說,“應該不會啊。電網喜歡三相電。”
電網喜歡三相電。這句話從此被我反復引用。
有次給技術專家Z博士電話,他正在北京出差,參與處理一起充電樁起火事故。Z博士是公司技術大牛,市場問題很少驚動到他出差。這起事故是因為充電場站的功率太大導致電網三相不平衡,N線過載,N被燒毀。這個事故讓我想起倪老師的“電網喜歡三相電”之說。電網喜歡三相電,是指三相電比較均衡,正常工作狀態下,中性線N上流過的電流為0。
將“電網喜歡三相電”的概念引申開來,我將慢充直流化的一大優勢闡述為:整個行業都去OBC之后,整個社會包括政府部門都將理解何為電網,為什么電網喜歡三相電,政府將不再限制充電樁用戶申請三相電,而是鼓勵三相電,政府根據所在城市或者社區的低壓配電容量,適當限制功率就好,不要限制三相電。這個常識怎么可以讓國家電網的爺們教會政府政策制定部門的爺們呢??
在充電樁的售后問題中,電工類問題占比不少。電工知識是充電樁從業人員,包括開關電源方面的專業工程師,都要補的課。這篇科普將是搬一些教科書知識拼湊起來的。
電力系統和電網
在學術上,電網是指“電力網”,是電力系統最主要的組成部分。發電廠發出的電,升壓后進入地區的輸電網,再降壓到區域的配電網。輸電網和配電網就像是大動脈和毛細血管。有文獻上指出,110kV以上電網為輸電網,110kV以下電網為配電網。配電網按電壓等級來分類,可分為高壓配電網(35—110KV),中壓配電網(6—10KV,蘇州有20KV的),低壓配電網(220/380V)。
通過下面一組示意圖,我們可以一目了然地理解電力系統和電網的基本概念。
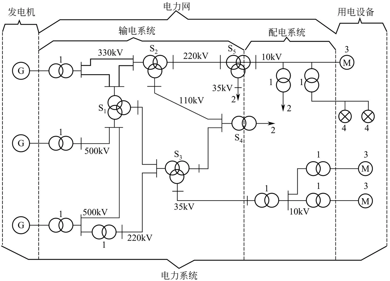
圖一的示意很簡潔,凸顯了升壓和降壓。圖二的示意簡潔而形象,說明一次高壓變配電所、二次高壓變配電所和低壓變配電站組是電網的重要組成部分。圖三是學術化的示意圖,畫得更完整,更嚴謹,圖中有500kV、330kV、220kV、110kV、35kV、10kV等不同的電壓數值,說明電網上運行的電壓等級不兩三種。
▲圖一 最簡電力系統示意圖
▲圖二 電力系統主要組成:以變配電所(站)為核心
▲圖三 電力系統組成(學術版)
圖四的呈現比圖二更加形象生動,體現多種發電方式,如水電廠、火電廠、核電和風力發電,標識了四種電壓數值:220kV、110kV、10kV、0.4kV,顯示出10kV降壓到0.4kV供電給“居民”。這里面0.4kV就是我們比較熟悉的380V三相電。
▲圖四 電力系統示意圖
整個電力系統的核心是升壓和降壓。升壓的目的是減少傳輸過程中電纜的損耗。傳輸相同的電力容量,提高電壓,就可以降低電流。電流越小,傳輸電纜的損耗就越小。P=V*I,P=I^2*R。導線越粗,導線的截面積越大,對應的電阻率就越小。過粗的導線,長距離傳輸的成本和安裝的都很困難。所以說,升壓就可以減少電纜直徑和重量,就可以傳輸得更遠。
輸電網:大動脈
輸電網是將發電站產生的高壓電能輸送到需要用電的地區的一種電力輸電系統。輸電網通過采用高電壓、大電流的電力傳輸方式,能夠快速、有效地傳送大量的電流。輸電網由各種輸電設備、變電設備、絕緣設備、避雷設備、配件和材料等構成。如圖五所示。
▲圖五 輸電網的場景圖
配電網:毛細血管
配電網通過配電設施就地分配或按電壓逐級分配給各類用戶。配電網是指35KV及其以下電壓等級的電網,給城市里各個配電站和各類用電負荷供給電源,由架空線路、電纜、桿塔、配電變壓器、隔離開關、無功補償電容以及一些附屬設施等組成的。按供電區的功能來分類,可分為城市配電網,農村配電網和工廠配電網等。
圖一、圖三和圖四都標識了10kV這個電壓值。10kV以下的配電網是最常見的。小區電網是配電網絡的分支用電網絡,國家電網通過配電線路拉到小區配電箱,經公用變壓器降壓后,給每家每戶供電。
小區配電網:最后一公里
如圖六所示的戶外配電柜和干式電力變壓器在縣城里隨處可見。這是我在縣城散步時隨手拍下的,上面掛的牌子上寫了“10kV城配西05線”,“樅陽所五七圩#10538公用變”等字樣。將10kV降壓到380V的干式電力變壓器(簡稱“箱變”)是小區配電的核心,“是低壓系統的電源端,也是10kV系統的負荷端,它既有變壓器低壓中性電的系統接地,也有高低壓電氣設備外露導電部分的保護接地”。這兩種接地的處理是復雜的問題。
▲圖六 10kV降壓到380V的戶外柜和干式電力變壓器
380V箱變的輸出走線到小區配電房(如圖七)。
▲圖七 小區配電房
▲圖八 入戶配電箱
電網為什么喜歡三相電
小區配電房是從箱變接入的三相電,分別引出單相電供配電到各住宅單元。如圖九示意的是從小區配電房到入戶配電箱的電氣線路圖。我們暫不深究這里采用什么電網制式(接地系統)。三相電取其中一相電,給到具體幾個住宅單元,再從住宅單元配電房給到具體某戶人家。
▲圖九 從小區配電房到入戶配電箱的電氣線路圖
如圖十所示,代表三相電中的a相給老羅家、秦阿姨家、小明家、老王家供電。b相和c相將分別給另外的若干家庭供電。a相、b相和c相都分別和相同的N線構成回路。如果a相的用電負荷遠大于b和c相,而且超過了N線的最大可承受電流,N線可能被燒毀。如果用電負荷都是三相電,三相電是平衡的,工作過程中N線電流為0,不存在三相不平衡問題。充電樁的功率比一般的家電功率大很多。電動汽車大規模普及后,三相不平衡問題一定會頻頻發生。鼓勵使用三相輸入的充電樁,譬如對于小區用戶,政府引導使用11kW三相充電樁,對小區容量的消耗和7kW相比沒本質差別。
▲圖十 單相電給多個家庭供電



